Productdetails
Dit CE gecertificeerde DX veiligheidsheidsscharnier is door zijn geïntegreerde dievenklauw door het SKG gekeurd en bestempeld als inbraakwerend en daarmee geschikt voor buitendeuren en ramen die intensief gebruikt worden. Dit product voldoet bovendien aan alle eisen om binnen het Politie Keurmerk Veilig Wonen (PKVW) toegepast te worden.

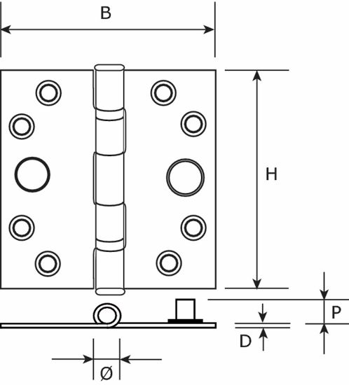
Door zijn rechte hoeken is het scharnier bedoeld voor handmatige verwerking. Om het scharnier in te laten en te bevestigen kan gemakkelijk met hamer en beitel de uitsparing in deur/raam en kozijn gemaakt worden.

Aan de onderkant is een scharnierknop bevestigd met daarin een gaatje. Allereerst verrijkt de scharnierknop het uiterlijk doordat boven- en onderkant nu identiek ogen. Daarnaast is er met het aangebrachte gaatje voor gezorgd dat demonteren, bijvoorbeeld wanneer u gaat schilderen, eenvoudig blijft. U slaat de bovenste pen door het gaatje gemakkelijk met een spijker omhoog. De scharnierknop en de pen zijn bovendien voorzien van een kartelrand, die voorkomt dat de scharnierknop of de pen na verloop van tijd uit het scharnier kruipt en er tevens voor zorgt dat het scharnier minder gauw scheef gaat hangen.

Door de kogellagers loopt dit scharnier bijzonder soepel, wat de draagkracht en levensduur ten opzichte van een losse pen scharnier ten goede komt. Om de hoge kwaliteit van dit scharnier langere tijd te waarborgen wordt aangeraden de lagers jaarlijks te smeren met kogellagervet, zuurvrije vaseline of spray op siliconenbasis.

Bent u op zoek naar een onderhoudsvrij scharnier met SKG keurmerk en nog meer draagvermogen? Bekijk dan ook ons assortiment glijlagerscharnieren of kogelstiftpaumelles.
Product specificaties
Attribuut naamAttribuut waarde
KeurmerkSKG**
Draadvermogen per 3 stuks0 - 35
Materiaalstaal
Modelrechte hoek(en)
MerkDX
Draadvermogen per 4 stuks0 - 40
Bewerking (fabricage/afwerking)blank, verzinkt
Model lagerkogellager

Kogellagerscharnier recht SKG** + pen VZ

DX
Merk: DX
EAN: 8714140168903,8714140168897
Artikelnummer merk: 6212.125.7676
€ 30,20 incl. BTW
Prijs per Grootverpakking van 6 Stuk
Beschikbaarheid: Niet op voorraad, levertijd 1 tot meerdere werkdagen
priceandstock.inthestore
priceandstock.viewstockperbranch
BJC Tools Erp
Hoogstraat 11 , 5469 EL Erp
Niet op voorraad, levertijd 1 tot meerdere werkdagen
priceandstock.inthestore
priceandstock.viewstockperbranch
BJC Tools Erp
Hoogstraat 11 , 5469 EL Erp
Niet op voorraad, levertijd 1 tot meerdere werkdagen
Product specificaties
Attribuut naamAttribuut waarde
KeurmerkSKG**
Draadvermogen per 3 stuks0 - 35
Materiaalstaal
Modelrechte hoek(en)
MerkDX
Draadvermogen per 4 stuks0 - 40
Bewerking (fabricage/afwerking)blank, verzinkt
Model lagerkogellager
About Dick